Co robi hydraulik? Pełny zakres usług i porady eksperta
Poznaj pełny zakres usług hydraulika: od awarii po montaż instalacji grzewczych i wod-kan. Dowiedz się, jak wybrać fachowca i uniknąć problemów.
Poznaj pełny zakres usług hydraulika: od awarii po montaż instalacji grzewczych i wod-kan. Dowiedz się, jak wybrać fachowca i uniknąć problemów.
Wybierz farbę o najlepszym kryciu! Poznaj ranking farb ceramicznych i lateksowych, kluczowe parametry (Klasa 1), techniki malowania i przygotowanie ścian. Sprawdź porady eksperta!
Zastanawiasz się, jaka spawarka inwertorowa będzie najlepsza? Poznaj metody, parametry, funkcje i polecane modele. Wybierz świadomie!
Czym malować kuchnię? Poznaj farby ceramiczne i lateksowe, ich właściwości, parametry i trendy 2026. Wybierz idealną farbę do kuchni na lata!
Wybierz pierwszą spawarkę dla amatora! Poradnik: MIG/MAG, MMA, TIG, parametry, funkcje i budżet. Dowiedz się, co musisz wiedzieć przed zakupem.
Ile zarabia hydraulik w Polsce? Sprawdź średnie stawki, widełki płacowe i co wpływa na wynagrodzenie. Dowiedz się, jak zarobić ponad 10 000 zł!
Czy spawanie jest trudne? Odkryj, jak zacząć, którą metodę wybrać i ile możesz zarobić jako spawacz w Polsce. Sprawdź nasz przewodnik!
Malowanie paneli MDF? Wybierz idealną farbę, przygotuj powierzchnię i uniknij błędów. Poznaj sprawdzony poradnik i ciesz się trwałym efektem!
Jak zostać hydraulikiem w Polsce? Poznaj ścieżki edukacji, niezbędne uprawnienia, realne zarobki i perspektywy zawodu. Sprawdź nasz przewodnik!
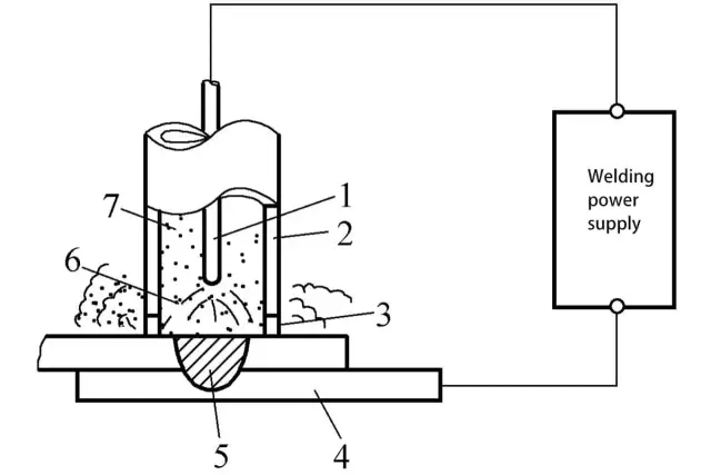
Jak działa spawarka? Poznaj sekrety łuku elektrycznego i różnice między MMA, MIG/MAG, TIG. Odkryj budowę i zasady bezpieczeństwa spawania!
Napraw swój fotel! Dowiedz się, jak działa mechanizm fotela rozkładanego, zdiagnozuj usterki i wymień części. Sprawdź, kiedy wezwać fachowca i gdzie kupić zamienniki.
Chcesz wyciąć drzewo? Dowiedz się, kiedy potrzebujesz zgody, a kiedy wystarczy zgłoszenie. Sprawdź limity obwodów i kary za nielegalną wycinkę.
Sprawdź realne stawki godzinowe hydraulików w Polsce (100-400 zł). Dowiedz się, co wpływa na koszty usług i ile naprawdę zarabiają. Uniknij przepłacania!
Ile kosztuje spawanie tłumika? Od 100 do 800 zł. Zobacz, kiedy naprawa się opłaca, a kiedy lepiej wymienić. Porady eksperta.
Wybierz idealny mechanizm drzwi przesuwnych! Poznaj typy, komponenty, montaż i konserwację. Sprawdź, jak uniknąć problemów i cieszyć się komfortem.
Wycinanie drzewa bez zezwolenia? Dowiedz się, jak zminimalizować karę! Praktyczne strategie prawne i kroki, które musisz znać.
Wybierz idealne elektrody do spawarki inwertorowej! Poznaj różnice (rutylowe, zasadowe), czytaj oznaczenia i unikaj błędów. Sprawdź, jak spawać mocno i estetycznie.
Jaka farba na elewację? Nasz poradnik pomoże wybrać idealną! Porównaj akrylowe, silikonowe, silikatowe i hybrydowe. Uniknij kosztownych błędów.
Spawanie TIG: kompleksowy przewodnik dla każdego! Poznaj definicję, zasadę działania, zalety i wady. Dowiedz się, jaki sprzęt wybrać i czym różni się od MIG/MAG. Sprawdź!
Poznaj kompleksowe koszty instalacji hydraulicznej w domu. Sprawdź cennik robocizny (punkt, CO, biały montaż) i materiałów. Dowiedz się, jak uniknąć pułapek.
Wybierz najlepszą spawarkę 3w1! Poznaj kluczowe parametry, ranking polecanych modeli i uniknij błędów. Sprawdź nasz przewodnik dla warsztatu i garażu.
Uzyskaj zgodę na wycinkę drzewa! Poznaj skuteczne argumenty, dowody i błędy, których unikać. Sprawdź, jak napisać wniosek, który przekona urząd.
Szumiś nie działa? Zdiagnozuj problem z mechanizmem! Dowiedz się, czy naprawić, czy kupić nowy. Porównaj modele, ceny i znajdź idealne serce dla misia. Sprawdź nasz poradnik!
Wybierz idealny mechanizm do półkotapczanu! Porównaj sprężynowe i gazowe, dowiedz się o udźwigu, montażu i bezpieczeństwie. Sprawdź nasz poradnik!
Zastanawiasz się, ile kosztuje hydraulik w 2026? Poznaj szczegółowy cennik, czynniki wpływające na ceny i praktyczne porady, jak wybrać dobrego fachowca.
Wybierz idealną farbę nawierzchniową na podkład epoksydowy. Porównaj poliuretan, akryl, epoksyd: odporność na UV, trwałość i zastosowania. Sprawdź, jak przygotować podłoże.
Szukasz pomysłów co spawać i sprzedawać? Odkryj dochodowe nisze: meble loftowe, akcesoria do kamperów, usługi naprawcze. Poznaj wskazówki na start!