
Spawanie tłumika: Koszt od 100 zł. Kiedy naprawa się opłaca?
Ile kosztuje spawanie tłumika? Od 100 do 800 zł. Zobacz, kiedy naprawa się opłaca, a kiedy lepiej wymienić. Porady eksperta.

Ile kosztuje spawanie tłumika? Od 100 do 800 zł. Zobacz, kiedy naprawa się opłaca, a kiedy lepiej wymienić. Porady eksperta.

Wybierz idealny mechanizm drzwi przesuwnych! Poznaj typy, komponenty, montaż i konserwację. Sprawdź, jak uniknąć problemów i cieszyć się komfortem.

Wycinanie drzewa bez zezwolenia? Dowiedz się, jak zminimalizować karę! Praktyczne strategie prawne i kroki, które musisz znać.

Wybierz idealne elektrody do spawarki inwertorowej! Poznaj różnice (rutylowe, zasadowe), czytaj oznaczenia i unikaj błędów. Sprawdź, jak spawać mocno i estetycznie.

Jaka farba na elewację? Nasz poradnik pomoże wybrać idealną! Porównaj akrylowe, silikonowe, silikatowe i hybrydowe. Uniknij kosztownych błędów.

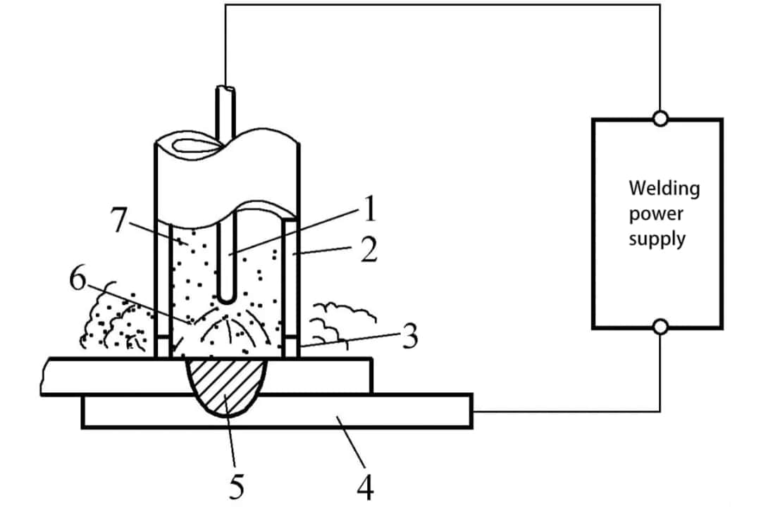
Spawanie TIG: kompleksowy przewodnik dla każdego! Poznaj definicję, zasadę działania, zalety i wady. Dowiedz się, jaki sprzęt wybrać i czym różni się od MIG/MAG. Sprawdź!

Poznaj kompleksowe koszty instalacji hydraulicznej w domu. Sprawdź cennik robocizny (punkt, CO, biały montaż) i materiałów. Dowiedz się, jak uniknąć pułapek.

Wybierz najlepszą spawarkę 3w1! Poznaj kluczowe parametry, ranking polecanych modeli i uniknij błędów. Sprawdź nasz przewodnik dla warsztatu i garażu.

Uzyskaj zgodę na wycinkę drzewa! Poznaj skuteczne argumenty, dowody i błędy, których unikać. Sprawdź, jak napisać wniosek, który przekona urząd.

Szumiś nie działa? Zdiagnozuj problem z mechanizmem! Dowiedz się, czy naprawić, czy kupić nowy. Porównaj modele, ceny i znajdź idealne serce dla misia. Sprawdź nasz poradnik!